北京时间4月7日,天眼查工商信息显示,郭艾伦名下企业均已注销。

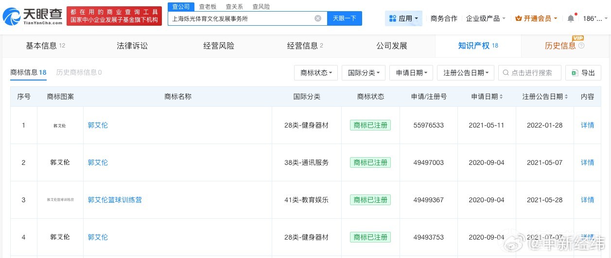
上海烁光体育文化发展事务所成立于2017年4月,出资额10万人民币,经营范围含体育赛事策划、文化艺术交流策划、体育咨询等,为郭艾伦个人独资企业。

目前该事务所已注销。知识产权信息显示,该企业已注册多枚“郭艾伦”“郭艾伦篮球训练营”商标,国际分类涉及健身器材、通讯服务、教育娱乐等,当前商标状态多为已注册。
郭艾伦被诈骗千万元细节:被“十年兄弟”用年化22%忽悠入局
“郭艾伦遭熟人诈骗千万”登上微博热搜第二,目前警方已立案处理
有反转?郭艾伦:我没有被骗,网络造谣比真骗子还能编
郭艾伦工作室声明:网传“郭艾伦被骗钱财”相关均为凭空捏造
本站所有直播信号均由用户收集或从搜索引擎搜索整理获得,所有内容均来自互联网,我们自身不提供任何直播信号和视频内容,如有侵犯您的权益请通知我们,我们会第一时间处理。
Copyright © 2021-2024 24直播. All Rights Reserved. 粤ICP备18050375号-1 站长统计